目录
1 范围 1
2 引用标准 1
3 定义 1
4 电容型验电器 4
5 携带型短路接地线 5
6 个人保护接地线 7
7 绝缘杆 7
8 核相器 8
9 绝缘罩 10
10 绝缘隔板 10
11 绝缘胶垫 11
12 绝缘靴 12
13 绝缘手套 13
14 导电鞋 14
15 安全带 14
16 安全帽 15
17 脚扣 17
18 升降板 18
19 竹(木)梯 19
20 试验报告 19
21 参考文献 20
1 范围
本规程规定了各种常用电力安全工器具预防性试验的项目、周期和要求,并提供了相应的试验方法,用以判断这些工器具是否符合使用条件,保证工作人员的人身安全。
本规程不适用于带电作业工器具。
从国外进口的安全工器具应以该工器具的产品标准为基础,参照本规程执行。
2 引用标准
下列标准所包含的条文,通过在本规程中引用而构成为本规程的条文。本规程颁布时,所示版本均为有效。所有标准均会被修订,使用本规程的各方应探讨使用下列标准新版本的可能性。
GB 2811~2812-89 安全帽及其试验方法
GB 4385-1995 防静电鞋、导电鞋技术要求
GB 6095~6096-85 安全带
GB 7059.1~7059.3-86 移动式梯安全标准
GB 12011-2000 电绝缘鞋通用技术条件
DL 408-91 电业安全工作规程(发电厂和变电所电
气部分)
DL 409-91 电业安全工作规程(电力线路部分)
DL 740-2000 电容型验电器
SD 332-89 携带型短路接地线技术标准
3 定义
3.1 电力安全工器具
防止触电、灼伤、坠落、摔跌等事故,保障工作人员人身安全的各种专用工具和器具。
安全工器具分为绝缘安全工器具和一般防护安全工器具两大类。
绝缘安全工器具又分为基本绝缘安全工器具和辅助绝缘安全工器具。
基本绝缘安全工器具是指能直接操作带电设备或接触及可能接触带电体的工器具,如电容型验电器、绝缘杆、核相器、绝缘罩、绝缘隔板等,这类工器具和带电作业工器具的区别在于工作过程中为短时间接触带电体或非接触带电体。在本规程中,将携带型短路接地线也归入这个范畴。
辅助绝缘安全工器具是指绝缘强度不是承受设备或线路的工作电压,只是用于加强基本绝缘安全工器具的保安作用,用以防止接触电压、跨步电压、泄漏电流电弧对操作人员的伤害,不能用辅助绝缘安全工器具直接接触高压设备带电部分。属于这一类的安全工器具有:绝缘手套、绝缘靴、绝缘胶垫等。
一般防护用具是指防护工作人员发生事故的工器具,如安全带、安全帽等,在本规程中,将登高用的脚扣、升降板、梯子等也归入这个范畴。导电鞋也归入这个范畴。
3.2 预防性试验
为防止使用中的电力安全工器具性能改变或存在隐患而导致在使用中发生事故,对电力安全工器具进行试验、检测和诊断的方法和手段。
3.3 高压
对地电压在250V以上。
3.4 低压
对地电压在250V及以下。
3.5 电容型验电器
通过检测流过验电器对地杂散电容中的电流,检验设备、线路是否带电的装置。
3.6 携带型短路接地线
用于防止设备、线路突然来电,消除感应电压,放尽剩余电荷的临时接地的装置。
3.7 个人保护接地线
主要用于防止感应电压危害的个人用接地装置。
3.8 绝缘杆
用于短时间对带电设备进行操作的绝缘工具,如接通或断开高压隔离开关、跌落熔丝具等。
3.9 核相器
用于检别待连接设备、电气回路是否相位相同的装置。
3.10 绝缘罩
由绝缘材料制成,用于遮蔽带电导体或非带电导体的保护罩。
3.11 绝缘隔板
用于隔离带电部件、限制工作人员活动范围的绝缘平板。
3.12 绝缘胶垫
加强工作人员对地绝缘,由特殊橡胶制成的橡胶板。
3.13 绝缘靴
由特种橡胶制成的,用于人体与地面绝缘的靴子。
3.14 绝缘手套
由特种橡胶制成的,起电气绝缘作用的手套。
3.15 导电鞋
由特种导电性能橡胶制成的,在220~500kV带电杆塔上及330~500 kV带电设备区非带电作业时为防止静电感应电压所穿用的鞋子。
3.16 安全带
高空作业中预防坠落伤亡的个人防护用品。
3.17 安全帽
对人体头部受外力伤害起防护作用的帽。
3.18 脚扣
用钢或合金材料制作的攀登电杆的工具。
3.19 升降板
由脚踏板和吊绳组成的攀登电杆的工具。
3.20 竹(木)梯
由木料、竹料制作的登高作业的工具。
4 电容型验电器
4.1 电容型验电器的试验项目、周期和要求见表1
表1 电容型验电器的试验项目、周期和要求

4.2 试验方法
4.2.1 验电器起动电压试验
高压电极由金属球体构成,在1m的空间范围内不应放置其他物体,将验电器的接触电极与一极接地的交流电压的高压电极相接触,逐渐升高高压电极的电压,当验电器发出“电压存在”信号,如“声光”指示时,记录此时的起动电压,如该电压在(0.15~0.4)倍额定电压之间,则认为试验通过。
4.2.2 工频耐压试验
高压试验电极布置于绝缘杆的工作部分,高压试验电极和接地极间的长度即为试验长度,根据表1中规定确定两电极间距离,如在绝缘杆间有金属连接头,两试验电极间的距离还应在此值上再加上金属部件的长度,绝缘杆间应保持一定距离,以便于观察试验情况。接地极和高压试验电极以宽50mm的金属箔或用导线包绕。
对于各个电压等级的绝缘杆,施加对应的电压。对于10~220kV电压等级的绝缘杆,加压时间1min;对于330~500kV电压等级的绝缘杆,加压时间5min。
缓慢升高电压,以便能在仪表上准确读数,达到0.75倍试验电压值起,以每秒2%试验电压的升压速率至规定的值,保持相应的时间,然后迅速降压,但不能突然切断,试验中各绝缘杆应不发生闪络或击穿,试验后绝缘杆应无放电、灼伤痕迹,应不发热。
若试验变压器电压等级达不到试验的要求,可分段进行试验,最多可分成4段,分段试验电压应为整体试验电压除以分段数再乘以1.2倍的系数。
5 携带型短路接地线
5.1 携带型短路接地线的试验项目、周期和要求见表2
表2 携带型短路接地线的试验项目、周期和要求

5.2 试验方法
5.2.1 成组直流电阻试验
成组直流电阻试验用于考核携带型短路接地线线鼻和汇流夹与多股铜质软导线之间的接触是否良好。同时,也可考核多股铜质软导线的截面积是否符合要求,以组合式接地线为例,其测量接线见图1。
成组直流电阻试验采用直流电压降法测量,常用的测量方式为电流-电压表法,试验电流宜≥30A。
进行接地线的成组直流电阻试验时,应先测量各接线鼻间两两的长度,根据测得的直流电阻值,算出每米的电阻值,其值如符合表2的规定,则为合格。

图1 携带型短路接地线成组直流电阻试验
5.2.2 工频耐压试验
试验电压加在操作棒的护环与紧固头之间,其余同4.2.2。
6 个人保护接地线
6.1 个人保护接地线的试验项目、周期和要求见表3
表3 个人保护接地线的试验项目、周期和要求

6.2 试验方法
6.2.1 成组直流电阻试验
试验方法同5.2.1,如测得的直流电阻值符合表3的规定,则认为合格。
7 绝缘杆
7.1 绝缘杆的试验项目、周期和要求见表4
表4 绝缘杆的试验项目、周期和要求

7.2 试验方法
7.2.1 工频耐压试验
试验方法同4.2.2。
8 核相器
8.1 核相器的试验项目、周期和要求见表5
表5 核相器的试验项目、周期和要求

8.2 试验方法
8.2.1 连接导线绝缘强度试验
导线应拉直,放在电阻率小于100Ω·m的水中浸泡,也可直接浸泡在自来水中,两端应有350mm长度露出水面,试验电路图见图2。

图2 连接导线绝缘强度试验
1-连接导线;2-金属盆;3-水
在金属盆与连接导线之间施加表5规定的电压,以1000V/s的恒定速度逐渐加压,到达规定电压后,保持5min,如果没有出现击穿,则试验合格。
8.2.2 绝缘部分工频耐压试验
试验电压加在核相棒的有效绝缘部分,试验方法同4.2.2。
8.2.3 电阻管泄漏电流试验
依此对两核相棒进行试验,将待试核相棒的试验电极接至交流电压的一极上,其连接导线的出口与交流电压的接地极相连接,施加表5规定的电压,如泄漏电流小于表5规定的值,则试验通过。
8.2.4 动作电压试验
将核相器的接触电极与一极接地的交流电压的两极相接触,逐渐升高交流电压,测量核相器的动作电压,如动作电压最低达到0.25倍额定电压,则认为试验通过。
9绝缘罩
9.1 绝缘罩的试验项目、周期和要求见表6
表6 绝缘罩的试验项目、周期和要求

9.2 试验方法
9.2.1 工频耐压试验
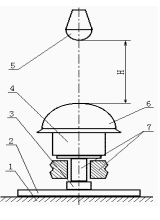
对于功能类型不同的遮蔽罩,应使用不同型式电极。通常遮蔽罩的内部的电极是一金属芯棒,并置于遮蔽罩内中心处,遮蔽罩外部电极为接地电极,由导电材料,如金属箔或导电漆等制成,试验电极布置如图3所示。
图3 试验电极布置

1-接地电极;2-金属箔或导电漆;3-高压电极
在试验电极间,按表6规定,施加工频电压,持续时间5min,试验中,试品不应出现闪络或击穿。试验后,试样各部位应无灼伤、发热现象。
10 绝缘隔板
10.1 绝缘隔板的试验项目、周期和要求见表7
表7 绝缘隔板的试验项目、周期和要求

10.2 试验方法
10.2.1 表面工频耐压试验
用金属板作为电极,金属板的长为70mm,宽为30mm,两电极之间相距300mm。在两电极间施加工频电压60kV,持续时间1min,试验过程中不应出现闪络或击穿,试验后,试样各部分应无灼伤,无发热现象。
10.2.2 工频耐压试验
试验时,先将待试验的绝缘隔板上下铺上湿布或金属箔,除上下四周边缘各留出200mm左右的距离以免沿面放电之外,应覆盖试品的所有区域,并在其上下安好金属极板,然后按表7中的规定加压试验,试验中,试品不应出现闪络和击穿,试验后,试样各部位应无灼伤、无发热现象。
11绝缘胶垫
11.1 绝缘胶垫的试验项目、周期和要求见表8
表8 绝缘胶垫的试验项目、周期和要求

11.2 试验方法
试验电路如图4所示。试验时先将绝缘胶垫上下铺上湿布或金属箔,并应比被测绝缘胶垫四周小200mm,连续均匀升压至表8规定的电压值,保持1min,观察有无击穿现象,若无击穿,则试验通过。试样分段试验时,两段试验边缘要重合。
图4 绝缘胶垫试验接线图

12 绝缘靴
12.1 绝缘靴的试验项目、周期和要求见表9。
表9 绝缘靴的试验项目、周期和要求

12.2 试验方法
12.2.1 工频耐压试验
将一个与试样鞋号一致的金属片为内电极放入鞋内,金属片上铺满直径不大于4mm的金属球,其高度不小于15mm,外接导线焊一片直径大于4mm的铜片,并埋入金属球内。外电极为置于金属器内的浸水海棉,试验电路见图5。
以1kV/s的速度使电压从零上升到所规定电压值的75%,然后再以100V/s的速度升到规定的电压值,当电压升到表9规定的电压时,保持1min,然后记录毫安表的电流值。电流值小于10mA,则认为试验通过。

图5 绝缘靴试验电路示意图
1-被试靴;2-金属盘;3-金属球;4-金属片;5-海绵和水;6-绝缘支架
13绝缘手套
13.1 绝缘手套的试验项目、周期和要求见表10
表10 绝缘手套的试验项目、周期和要求

13.2 试验方法
13.2.1 工频耐压试验
在被试手套内部放入电阻率不大于100Ω·m的水,如自来水,然后浸入盛有相同水的金属盆中,使手套内外水平面呈相同高度,手套应有90mm的露出水面部分,这一部分应该擦干,试验接线如图6所示。

图6 绝缘手套试验装置示意图
1-电极;2-试样;3-盛水金属器皿
以恒定速度升压至表10规定的电压值,保持1min,不应发生电气击穿,测量泄漏电流,其值满足表10规定的数值,则认为试验通过。
14导电鞋
14.1 导电鞋的试验项目、周期和要求见表11
表11 导电鞋的试验项目、周期和要求

14.2 试验方法
以100V直流作为试验电源,试验电路示意图见图7。内电极由直径4mm的钢球组成,外电极为铜板,外接导线焊一片直径大于4mm的铜片埋入钢球中。在试验鞋内装满钢球,钢球总重量应达到4kg,如果鞋帮高度不够,装不下全部钢球,可用绝缘材料加高鞋帮高度。加电压时间为1min。测量电压值和电流值,并根据欧姆定律算出电阻,如电阻小于100kΩ,则试验通过。

图7 导电鞋电阻值测量电路
1-铜板;2-导电涂层;3-绝缘支架;4-内电极;5-试样
15安全带
15.1 安全带的试验项目、周期和要求见表12
表12 安全带的试验项目、周期和要求

15.2 试验方法
15.2.1 静负荷试验
用拉力试验机进行试验,连接形式见图8,拉伸速度为100mm/min,根据表12中的种类,施加对应的静拉力,载荷时间为5min,如不变形或破断,则认为合格。
图8 安全带整体静负荷试验图

1-夹具;2-安全带;3-半圆环;4-钩;5-三角环;6-带、绳;7-木轮
16 安全帽
16.1 安全帽的试验项目、周期和要求见表13
表13 安全帽的试验项目、周期和要求

16.2 试验方法
安全帽的使用期,从产品制造完成之日计算,根据表13的规定,使用期满后,要进行抽查测试合格后方可继续使用,抽检时,每批从最严酷使用场合中抽取,每项试验,试样不少于2顶,以后每年抽检一次,有一顶不合格则该批安全帽报废。
16.2.1 冲击性能试验
试验示意图见图9所示,基座由不小于500kg的混凝土座构成。将头模、力传感器装置及底座垂直安放在基座上,力传感器装置安装在头模与底座之间,帽衬调至适当位置后将一顶完好的安全帽,戴到头模上,钢锤从1m高度(锤的底面至安全帽顶的距离)自由导向落下冲击安全帽。钢锤重心运动轨迹应与头模中心线和传感器敏感轴重合。通过记录显示仪器测出头模所受的力。如记录到的冲击力小于4900N,则试验通过。
图9 冲击吸收性能试验示意图(采用压电式力传感器)
1- 混凝土基座;2-底座;3-压电式传感器;4-头模;5-钢锤;6-安全帽;7-力传感器配套装置;H-冲击距离

2-
16.2.2 耐穿刺性能试验:
试验示意图见图10所示,将一顶完好的安全帽安放在头模上,安全帽衬垫与头模之间放置电接触显示装置的一个电极,该电极由铜片或铝片制成,如钢锥与该电极相接触,可形成一个电闭合回路。电接触显示装置会有指示。用3kg的钢锥从1m高度自由或导向下落穿刺安全帽,钢锥着帽点应在帽顶中心φ100mm范围内的薄弱部分,穿刺后观察电接触显示装置,如无显示,则试验通过。
图10 耐穿刺性能试验示意图

1-钢锥;2-安全帽;3-头模;H-冲击距离
17 脚扣
17.1 脚扣的试验项目、周期和要求见表14
表14 脚扣的试验项目、周期和要求

17.2 试验方法
17.2.1 静负荷试验试验示意图见图11所示,将脚扣安放在模拟的等径杆上,用拉力试验机对脚扣的踏盘施加1176N的静压力,时间为5min,卸荷后,活动钩在扣体内滑动应灵活、无卡阻现象,其它受力部位不得产生有足以影响正常工作的变形和其它可见的缺陷。

图11 脚扣试验示意图
18 升降板
18.1 升降板的试验项目、周期和要求见表15
表15 升降板的试验项目、周期和要求

18.2 试验方法
18.2.1 静负荷试验
将升降板安放在拉力机上,如图12所示。施加表15规定的静压力,加载速度应均匀缓慢上升,在规定的静压力下载荷时间为5min,如围杆绳不破断、撕裂,钩子不变形,踏板无损,则认为试验通过。

图12 升降板试验示意图
19 竹(木)梯
19.1 竹(木)梯的试验项目、周期和要求见表16
表16 竹(木)梯的试验项目、周期和要求

19.2 试验方法
19.2.1 静负荷试验
将梯子置于工作状态,与地面的夹角为75°±5°,在梯子的经常站立部位,对梯子的踏板施加1765N的载荷,踏板受力区应有10cm宽,不允许冲击性加载,试验在此载荷下持续5min,卸荷后,梯子的各部件应不发生永久变形和损伤。
20 试验报告
试验完毕后,试验人员应该及时出具试验报告,用不干胶或挂牌制成标志牌,见图13。
图13 安全工器具试验合格证标志牌

21 参考文献
GB 1695-81 硫化橡胶工频击穿介电强度和耐电压的测
定方法
GB 11176-89 电绝缘橡胶板
GB 12168-90 带电作业用遮蔽罩
GB 13398-92 带电作业用绝缘杆通用技术条件
GB 17622-1998 带电作业用绝缘手套通用技术条件
DL/T 596-1996 电力设备预防性试验规程